[email protected]  
Svaki dan 0-24h       
   

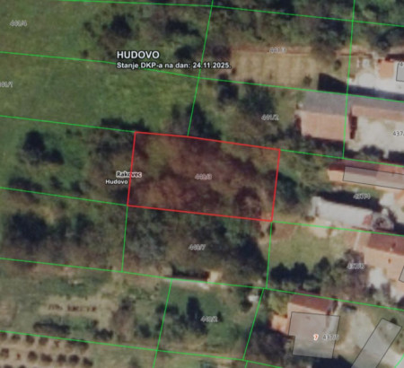
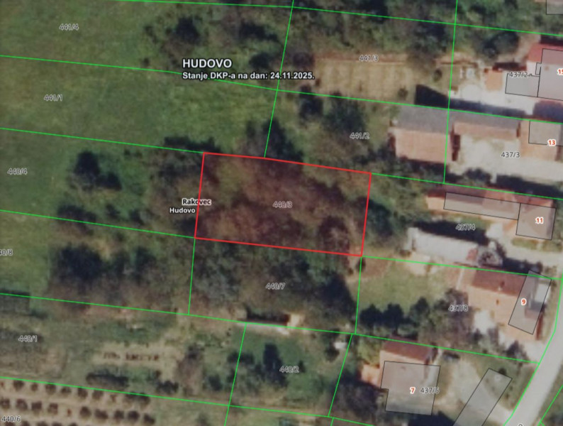
Građevinsko zemljište br. 1, Hudovo, 10347 Rakovec

Površina: 863 m2

Možebitne poreze i troškove plaća kupac.

Početak elektroničke dražbe: 23.04.2026, 14:00h
Završetak elektroničke dražbe: 08.05.2026, 13:59h

Početna cijena:
1.623,99 €
Datum dražbe:

Lokacija

Informacije

Podatak Sažetak
Način prodaje: Elektronička javna dražba
Adresa dražbe: Kupi paket
Uplata jamčevine: Kupi paket
Kontakt: Kupi paket

Ostale informacije i uvjeti:

Kupi paket

Na istoj dražbi prodaje se:

Naša stranica koristi kolačiće za pružanje boljeg korisničkog iskustva, nastavkom pregleda web stranice slažete se s korištenjem kolačića. Više informacija Zatvori